Sony’den oyunlara yapay zekâ dokunuşu: “AI ghost” patenti ortaya çıktı

Sony, oyun deneyimini doğrudan etkileyebilecek yeni bir yapay zekâ patenti aldı. Şirketin aldığı son patente göre, oyuncuların takıldığı noktalarda devreye girebilen ve bağlama duyarlı şekilde rehberlik sunan “AI Ghost” adı verilen sanal karakterler üzerinde çalışılıyor.

Oyunlara AI desteği

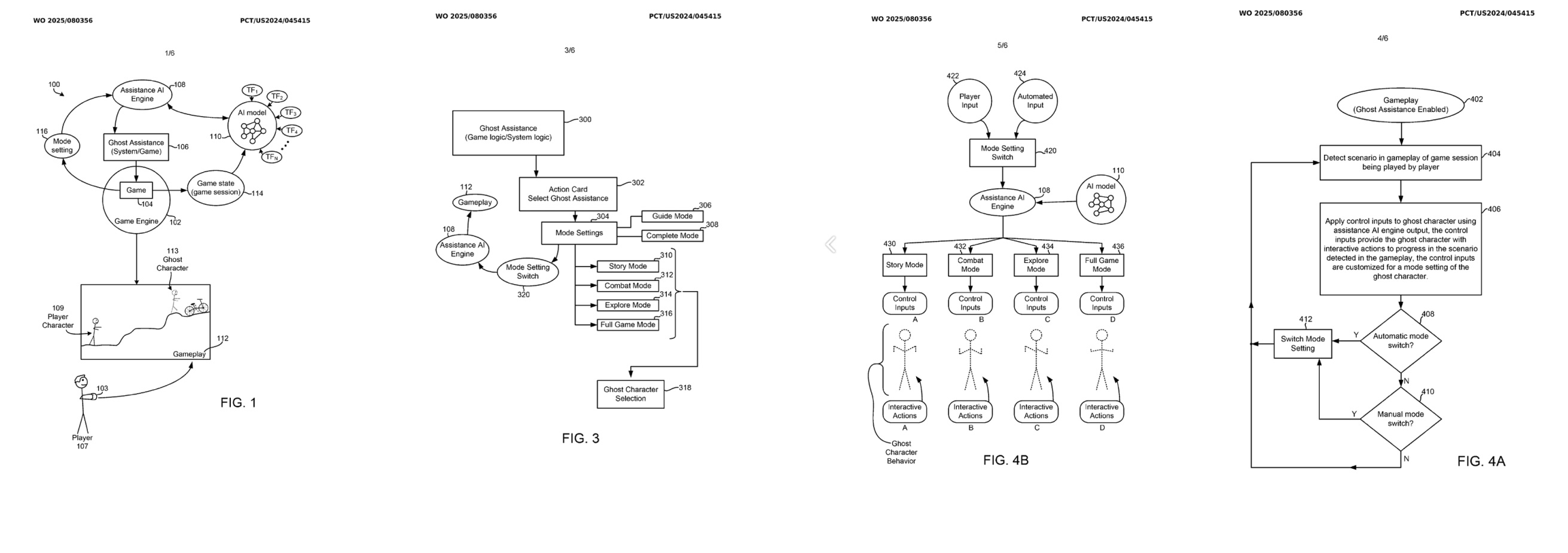
Patent dokümanlarına göre bu sistem, önceden kaydedilmiş oyuncu görüntülerini temel alarak eğitilen bir yapay zekâ modeline dayanıyor. Ancak klasik “önceki oyuncunun hayaletini takip etme” yaklaşımından farklı olarak, AI ghost yapısı oyuncunun o anki oyun durumunu analiz ediyor ve yalnızca ilgili senaryo için gerekli yönlendirmeleri sunuyor. Böylece alakasız hareketlerin ya da genel çözümlerin oyuncuya gösterilmesi engellenmiş oluyor.

Sony’nin tanımına göre sistemin merkezinde bir “yapay zeka yardım motoru” bulunuyor. Bu motor, farklı oyunculara ait oynanış kayıtlarından öğrenilen kontrol girdilerini analiz ediyor. Canlı oyun sırasında ise mevcut oyun durumu tanımlanarak, AI ghost karakterinin hangi hareketleri göstermesi gerektiği belirleniyor. Ortaya çıkan sanal karakter, oyuncuya görsel olarak hangi adımların izlenmesi gerektiğini gösterebiliyor.

Patent metninde özellikle modern oyunların giderek karmaşık hale gelmesine vurgu yapılıyor. Sony, bazı oyuncuların bu karmaşıklık nedeniyle oyunu bırakabildiğini veya internet üzerinden çözüm aramak zorunda kaldığını söylüyor. AI ghost yaklaşımı ise bu ihtiyacı oyun içi, gerçek zamanlı ve kişiselleştirilmiş bir destekle karşılamayı amaçlıyor.

Bu sistemin potansiyel kullanım alanları yalnızca tek bir senaryo ile sınırlı değil. Patent, farklı zorluk seviyeleri, farklı oyuncu profilleri ve değişken oyun modlarına uyarlanabilen bir yapıdan söz ediyor. Ancak günümüzde birçok üretici, gelecek planları doğrultusunda benzer patent başvurularında bulunuyor ve birçoğunun hayata geçirilmeden rafa kaldırıldığını görüyoruz. Dolayısıyla detaylar için bir süre daha beklememiz gerekecek.

Author: site

Bir yanıt yazın

E-posta adresiniz yayınlanmayacak. Gerekli alanlar * ile işaretlenmişlerdir